2024.10.15
【要注意!】考えなしで流行を追うと後悔しますよ!
NO.366
今年の秋のファッション。
30代女性にはナチュラルで
洗練されたカジュアルスタイルが
流行しているそうですね!
あなたは流行に敏感で
すぐに取り入れるほうですか?
じつは
家づくりにも流行りがあるって
ご存じですか?
きょうは、そんなお話です![]()
ブログを書いているのは
富山県砺波市の
株式会社暮匠(くらしょう)という
自然素材の家を得意とする工務店
バカがつくほど
構造と性能にこだわる社長の
姉さん女房こと小橋博美です![]()
![]()
これから家を建てる人や
住んでいる家に
不満や不安を持っている人には
笑顔で暮らせる家づくりを!
笑顔で暮らしている人には
もっと幸せな暮らしを!
そんな想いで
毎日投稿しています![]()
いいね!
をおして
応援してくれると
とっても嬉しいです![]()
![]()

2024年10月15日号
それでは今日も
いってみよう!
今年の秋・・・
30代女性に流行しているのは
「ナチュラルで洗練されたカジュアルスタイル」
だそうですね~![]()
![]()
色は
アースカラーやモノトーンなど
シックな感じのようです・・・
どうですか?
あなたは
流行に敏感なほうですか?
クローゼットは
流行りの服でいっぱいですか?
もしかしたら
「もう時代遅れかな?」
そんな服もあるのではないでしょうか![]()
&n
bsp;
それでも
洋服の流行りものは
買い替えるのも楽しみの一つですからね~
断捨離していくしかありません![]()
![]()
さて・・・
簡単に断捨離できないのが
家づくりです!
家づくりにも
流行りがあるのをご存じですか?
近年・・・
若い方に人気があるのが
キッチンの横に
ダイニングテーブルを横づけする
横長配置のスタイルです![]()
![]()
こちらのオーナー様も
このスタイルに憧れていらして
夢が叶ったステキな空間です![]()
完成見学会でも
とても好評でしたね~![]()
![]()
キッチンから
最短距離で配膳できる動線のため
いま、大人気の配置です!
ただ・・・
この流行りのスタイルは
一歩間違うと
後悔しかない
間取りになってしまう…![]()
手遅れの人には申し訳ありませんが
これからプランニングの人や
変更可能な方は
かならず気をつけてほしいところです!
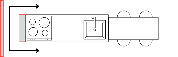
大事なのはココです!
この
壁とキッチンのあいだに
かならず通路をつくってくださいネ!
この通路をつくっておかないと
かならず後悔しますよ!
このオーナー様宅のように
壁とキッチンのあいだに通路があると
短い動線でリビング側に
行き来ができて便利ですが・・・
壁とキッチンのあいだに通路がないと
リビング側への行き来が
とても面倒なのが分かると思います。
たとえ・・・
キッチン・ダイニングテーブル・リビング
と、横並びだったとしても
キッチンの反対側に行くには
同じことが言えますね![]()
![]()
どちらにせよ・・・
この流行りのスタイルの場合は
床面積が広くなること
言い方を変えれば
床面積が広く必要となります。
床面積が増えれば
家の値段も高くなりますから
低予算で抑えようとした時の対策として
キッチンが壁付けされる
そんな可能性がでてきます![]()
![]()
それでも・・・
通路をつくれなくても・・・
動線が長くなって不都合でも・・・
流行りのスタイルにしたい!
そこまでの覚悟があれば
後悔はしないでしょう![]()
![]()
ただね・・・
年をとって
一歩でも歩きたくなくなった時は
ちょっと後悔するかもしれませんね![]()
![]()
しつこいですが
通路は大事ですからね!
あなたの家づくりを応援しています!
それでは
今日はこれでオシマイ![]()
では、また明日![]()
![]()














